30 目标代码的生成和优化(二):如何适应各种硬件架构?

前一讲,我带你了解了指令选择和寄存器分配,本节课我们继续讲解目标代码生成的,第三个需要考虑的因素:指令重排序(Instruction Scheduling)。

我们可以通过重新排列指令,让代码的整体执行效率加快。那你可能会问了:就算重新排序了,每一条指令还是要执行啊?怎么就会变快了呢?

别着急,本节课我就带你探究其中的原理和算法,来了解这个问题。而且,我还会带你了解LLVM是怎么把指令选择、寄存器分配、指令重排序这三项工作组织成一个完整流程,完成目标代码生成的任务的。这样,你会对编译器后端的代码生成过程形成完整的认知,为正式做一些后端工作打下良好的基础。

首先,我们来看看指令重排序的问题。

指令重排序

如果你有上面的疑问,其实是很正常的。因为我们通常会把CPU看做一个整体,把CPU执行指令的过程想象成,依此检票进站的过程,改变不同乘客的次序,并不会加快检票的速度。所以,我们会自然而然地认为改变顺序并不会改变总时间。

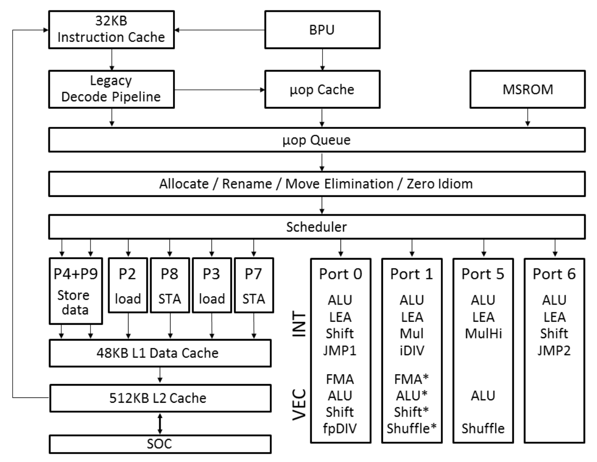
但当我们进入CPU内部,会看到CPU是由多个功能部件构成的。下图是Ice Lake微架构的CPU的内部构成(从Intel公司的技术手册中获取):

在这个结构中,一条指令执行时,要依次用到多个功能部件,分成多个阶段,虽然每条指令是顺序执行的,但每个部件的工作完成以后,就可以服务于下一条指令,从而达到并行执行的效果。这种结构叫做流水线(pipeline)结构。我举例子说明一下,比如典型的RISC指令在执行过程会分成前后共5个阶段。

  • IF:获取指令;
  • ID(或RF):指令解码和获取寄存器的值;
  • EX:执行指令;
  • ME(或MEM):内存访问(如果指令不涉及内存访问,这个阶段可以省略);
  • WB:写回寄存器。

对于CISC指令,CPU的流水线会根据指令的不同,分成更多个阶段,比如7个、10个甚至更多。

在执行指令的阶段,不同的指令也会由不同的单元负责,我们可以把这些单元叫做执行单元,比如,Intel的Ice Lake架构的CPU有下面这些执行单元:

其他执行单元还有:BM、Vec ALU、Vec SHFT、Vec Add、Vec Mul、Shuffle等。

因为CPU内部存在着多个功能单元,所以在同一时刻,不同的功能单元其实可以服务于不同的指令,看看下面这个图;

这样的话,多条指令实质上是并行执行的,从而减少了总的执行时间,这种并行叫做指令级并行:

如果没有这种并行结构,或者由于指令之间存在依赖关系,无法并行,那么执行周期就会大大加长:

我们来看一个实际的例子。

为了举例子方便,我们做个假设:假设load和store指令需要3个时钟周期来读写数据,add指令需要1个时钟周期,mul指令需要2个时钟周期。

图中橙色的编号是原来的指令顺序,绿色的数字是每条指令开始时的时钟周期,你把每条指令的时钟周期累计一下就能算出来。最后一条指令开始的时钟周期是20,该条指令运行需要3个时钟周期,所以在第22个时钟周期执行完所有的指令。右边是重新排序后的指令,一共花了13个时钟周期。这个优化力度还是很大的!

仔细看一下左边前两条指令,这两条指令的意思是:先加载数据到寄存器,然后做一个加法。但加载需要3个时钟周期,所以add指令无法执行,只能干等着。

右列的前三条都是load指令,它们之间没有数据依赖关系,我们可以每个时钟周期启动一个,到了第四个时钟周期,每一条指令的数据已经加载完毕,所以就可以执行加法运算了。

我们可以把右边的内容画成下面的样子,你能看到,很多指令在时钟周期上是重叠的,这就是指令级并行的特点。

当然了,不是所有的指令都可以并行,最后的3条指令就是顺序执行的,导致无法并行的原因有几个:

  • 数据依赖约束

如果后一条指令要用到前一条指令的结果,那必须排在它后面,比如下面两条指令:add和mul。

对于第二条指令来说,除了获取指令的阶段(IF)可以和第一条指令并行以外,其他阶段需要等第一条指令的结果写入r1,第二条指令才可以使用r1的值继续运行。

add r2, r1
mul r3, r1

  • 功能部件约束

如果只有一个乘法计算器,那么一次只能执行一条乘法运算。

  • 指令流出约束

指令流出部件一次流出n条指令。

  • 寄存器约束

寄存器数量有限,指令并行时使用的寄存器不可以超标。

后三者也可以合并成为一类,称作资源约束。

在数据依赖约束中,如果有因为使用同一个存储位置,而导致不能并行的,可以用重命名变量的方式消除,这类约束被叫做伪约束。而先写再写,以及先读后写是伪约束的两种呈现方式:

  • 先写再写:如果指令A写一个寄存器或内存位置,B也写同一个位置,就不能改变A和B的执行顺序,不过我们可以修改程序,让A和B写不同的位置。

  • 先读后写:如果A必须在B写某个位置之前读某个位置,那么不能改变A和B的执行顺序。除非能够通过重命名让它们使用不同的位置。

以上就是指令重排序的原理,掌握这个原理你就明白为什么重排序可以提升性能了,不过明白原理之后,我们还有能够用算法实现出来才行。

用算法排序的关键点,是要找出代码之间的数据依赖关系。下图展现了示例中各行代码之间的数据依赖,可以叫做数据的依赖图(dependence graph)。它的边代表了值的流动,比如a行加载了一个数据到r1,b行利用r1来做计算,所以b行依赖a行,这个图也可以叫做优先图(precedence graph),因为a比b优先,b比d优先。

我们可以给图中的每个节点再加上两个属性,利用这两个属性,就可以对指令进行排序了:

  • 一是操作类型,因为这涉及它所需要的功能单元。
  • 二是时延属性,也就是每条指令所需的时钟周期。

图中的a、c、e、g是叶子,它们没有依赖任何其他的节点,所以尽量排在前面。b、d、f、h必须出现在各自所依赖的节点后面。而根节点i,总是要排在最后面。

根据时延属性,我们计算出了每个节点的累计时延(每个节点的累计时延等于父节点的累计时延加上本节点的时延)。其中a-b-d-f-h-i 路径是关键路径,代码执行的最少时间就是这条路径所花的时钟周期之和。

因为a在关键路径上,所以首先考虑把a节点排在第1行。

剩下的树中,c-d-f-h-i变成了关键路径,因为c的累计时延最大。c节点可以排在第2行。

b和e的累计时延都是最长的,但由于b必须在a执行完毕后,才会开始执行,所以最好等够a的3个时钟周期,否则还是会空等,所以先不考虑b,而是把e放到第3行。

继续按照这个方式排,最后可以获得a-c-e-b-d-g-f-h-i的指令序列。不过这个代码其实还可以继续优化:也就是发现并消除其中的伪约束。

c和e都向r2里写了值,而d使用的是c写入的值。如果修改变量名称,比如让e使用r3寄存器,我们就可以去掉e跟d,以及e与c之间伪约束,让e就可以排在c和d之前。同理,也可以让g使用r4寄存器,使得g可以排在e和f的前面。当然了,在这个示例中,这种改变并没有减少总的时间消耗,因为关键路径上的依赖没有变化,它们都使用了r1寄存器。但在别的情况下,就有可能带来更大的优化。

我们刚才其实是采用了一种最常见的算法,List Scheduling算法,大致分为4步:

1.把变量重命名来消除伪约束(可选步骤)。- 2.创建依赖图。- 3.为每行代码计算优先值(计算方法可以有很多,比如我们示例中基于最长时延的方法就是一种)。- 4.迭代处理代码并排序。

除了List Scheduling算法以外,还有其他的算法,这里我就不展开了。不过,讲到算法时,我们需要考虑算法的复杂度。前一讲讲算法时,我没有提这个问题,是想在这里集中讲一下。

这两节课中,关于指令选择、寄存器分配和指令重排序的算法,其难度(时间复杂度)都是“NP-完全”的。“NP-完全”是什么意思呢?也就是这类问题找不到一个随规模(代码行数)计算量增长比较慢的算法(多项式时间算法)来找到最优解。反之,有可能计算量会随着代码行数呈指数级上升。因此,编译原理中的一些难度最高的算法,都在代码生成这一环。

当然了,找最优解太难,我们可以退而求其次,找一个次优解。就比如我们用地图软件导航的时候,没必要要求导航路径每次都是找到最短的。这时,就会有比较简单的算法,计算量不会随规模增长太快,但结果还比较理想。我们这两讲的算法都是这个性质的。

到目前为止,我带你了解了目标代码生成的三大考虑因素:指令选择、寄存器分配和指令重排序。现在,我们来看看目标代码生成,在LLVM中是如何实现的,这样,你能从概念过渡到实操,从而把知识点掌握得更加扎实。

LLVM的实现

LLVM的后端需要多个处理步骤来生成目标代码:

图中橙色的部分是重要的步骤,它本身包含了多个Pass,所以也叫做超级Pass。图中蓝框的Pass,是用来做一些额外的优化处理(关于LLVM的Pass机制,我在27讲提到过,如果你忘记了,可以回顾一下)。

接下来,我来讲解一下LLVM生成目标代码的关键步骤。

  • 指令选择

LLVM的指令选择算法是基于DAG(有向无环图)的树模式匹配,与前一讲基于AST的算法有一些区别,但总思路是一致的(具体算法描述可以参见这篇论文)。这个算法是Near-Optimal(接近Optimal)的,能够在线性的时间内完成指令的选择,并且它特别关注产生的代码的尺寸,要求尺寸足够小。

DAG是融合了公共子表达式的AST,也是一种结构化的IR。下面两行代码对应的AST和DAG分如图所示,你能看到,DAG把a=5这棵子树给融合了:

a = 5
b = (2 + a)+ (a * 3)

LLVM把内存中的IR模型,转化成了一个体现了某个目标平台特征的SelectionDAG,用于做指令选择。每个基本块转化成一个DAG,DAG中的节点通常代表指令,边代表指令之间的数据流动。

在这个阶段之后,LLVM会把DAG中的LLVM IR节点,全部转换成目标机器的节点,代表目标机器的指令,而不是LLVM的指令。

  • 指令排序(寄存器分配之前)

基于前一步的处理结果,我们要对指令进行排序。但因为DAG不能反映没有依赖关系的节点之间的排序,所以LLVM要先把DAG转换成一种三地址模式,这个格式叫做MachineInstr。这个阶段会把指令排序,并尽量发挥指令级并行的能力。

  • 寄存器分配

接下来做寄存器的分配。LLVM的IR支持无限多的寄存器,在这个环节要分配到实际的寄存器上,分配不下的就溢出到内存。

  • 指令排序(寄存器分配之后)

分配完寄存器之后,LLVM会再做一次指令排序。因为寄存器分配,会指定确定的寄存器,而访问不同的寄存器的时钟周期,可能是不同的。对于溢出到内存中的变量,也增加了一些指令在内存和寄存器之间传输数据。利用这些信息,LLVM可以进一步优化指令的排序。

  • 代码输出

做完上面的所有工作后,就可以输出目标代码了。

LLVM在这一步把MachineInstr格式转换为MCInst格式,因为后者更有利于汇编器和链接器输出汇编代码或二进制目标代码。

在这里,我想延伸一下,和你探讨一个问题:如果现在有一个新的CPU架构,要实现一个崭新的后端,来支持各种语言,应该怎么做。

在我国大力促进芯片研发的背景下,这是一个值得探讨的问题,新芯片需要编译器的支持才可以呀。你要实现各种指令选择的算法、寄存器分配的算法、指令排序的算法来反映这款CPU的特点。

对于这个难度颇高的任务,LLVM的TableGen模块会给你提供很大的帮助。这个模块能够帮助你为某个新的CPU架构快速生成后端。你可以用一系列配置文件定义你的CPU架构的特征,比如寄存器的数量、指令集等等。

一旦你定义了这些信息,TableGen模块就能根据这些配置信息,生成各种算法,如指令选择器、指令排序器、一些优化算法等等。这就像编译器前段工具可以帮你生成词法分析器,和语法分析器一样,能够大大降低开发一个新后端的工作量,所以说,把LLVM研究透彻,会有助于你在这样的重大项目中发挥重要作用。

课程小结

本节课,我讲解了目标代码生成的第三个主题:指令重排序。

要理解这个主题,你首先要知道CPU内部是分成多个功能部件的,要知道一条指令的执行过程中,指令获取、解码、执行、访问数据都是如何发生的,这样你会知道指令级并行的原理。

其次,从算法角度,你要知道List Scheduling的步骤,掌握基于最大时延的优先级计算策略。有了这个基础之后,你可以进一步地研究其他算法。

我想强调的是,指令选择、寄存器分配、指令重排序这三个领域的算法,都是“NP-完全”的,所以寻找优化的算法,是这个领域最富有挑战的任务。要研究清楚这些算法,你需要阅读相关的资料,比如本讲推荐的论文和其他该领域的经典论文。

另外,我建议你阅读CPU厂商的手册,因为只有手册才会提供相关CPU的具体信息,解答你对技术细节的一些疑惑。比如网上曾经有人提问说:为什么mov指令要用到ALU部件?这个其实看一下手册就知道了。

最后,我带你了解了LLVM是如何做这些后端工作的,这样可以加深你对代码生成这部分知识的了解。

一课一思

为了方便教学,本讲的示例用的时延值都比较少,这其实是不符合实际的。假设我们忽略指令获取和解码的阶段,只考虑执行和写入寄存器两个阶段,这时候add指令需要3个时钟周期(2个执行,1个写寄存器),mul指令也需要3个时钟周期,那么会对示例代码的排序产生什么影响呢?你可以实际推演一下,这对于你理解指令重排序的算法会很有帮助。

最后,感谢你的阅读,如果这篇文章让你有所收获,也欢迎你将它分享给更多的朋友。